(νεώτερη ενημέρωση 9/11/2015)
Το σημερινό Google Doodle είναι αφιερωμένο στην Χέντι Λαμάρ (γεννήθηκε στις 9 Νοεμβρίου 1914)
===========================
Ομορφιά, ταλέντο και εφευρέσεις

Κάποιοι θυμούνται τη Hedy Lamarr (Χέντι Λαμάρ 1913-2000), τη χολιγουντιανή σταρ σπάνιας ομορφιάς, που μεσουράνησε στον κινηματογράφο τις δεκαετίες ’30, ’40 και ’50 από κάποιες ταινίες της, ίσως και από τη γνωστή φράση της: «Κάθε κορίτσι μπορεί να γίνει διάσημο και να αποκτήσει λάμψη. Αρκεί να στέκεται ακίνητη και να δείχνει ηλίθια». Η ίδια δεν έμεινε στην ιστορία μόνο για την ομορφιά της, τις ατάκες και τις υποκριτικές τις ικανότητες, ούτε επειδή συνειδητοποίησε νωρίς, τη ματαιότητα της εφήμερης δόξας.
Η Χέντι Λαμάρ ήταν η γυναίκα εφευρέτης, που το δημιουργικό μυαλό της μας χάρισε την κινητή τηλεφωνία και την ασύρματη σύνδεση των υπολογιστών που απολαμβάνουμε σήμερα. Στον κόσμο της επιστήμης είναι γνωστή ως μία από τους εφευρέτες της πρώτης μορφής των μεθόδων διασποράς φάσματος, της βασικής, δηλαδή, τεχνολογίας που οδήγησε στην ανάπτυξη των σύγχρονων ασύρματων τηλεπικοινωνιών.

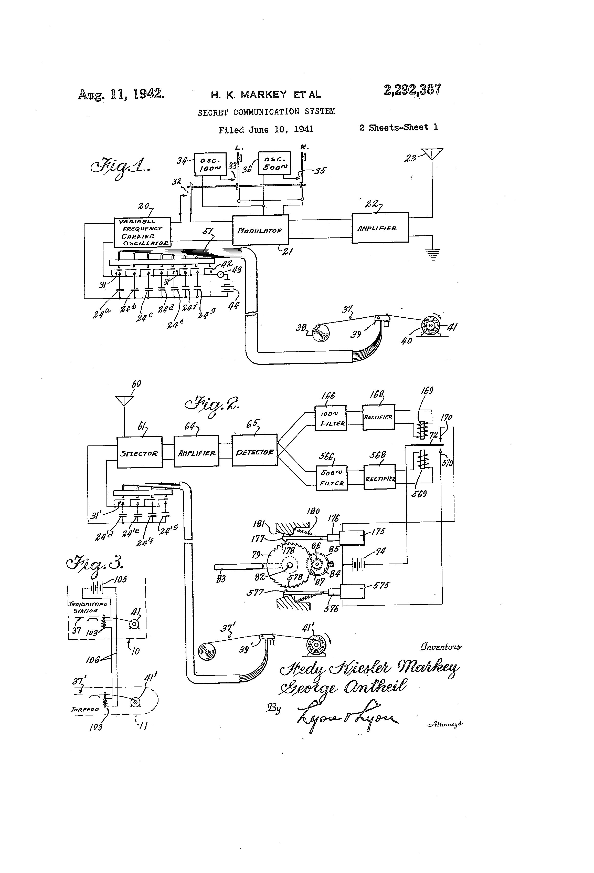
Διάγραμμα συστήματος κρυφής επικοινωνίας. Μια εφεύρεση που υπογάφεται από τον Antheil George και την Markey Hedy Kiesler (έτσι ονομαζόταν τότε η Hedy Lamarr) (http://www.google.com/patents/US2292387)
Ας δούμε, όμως, συνοπτικά, την πορεία της και την επιστημονική της προσφορά. Μετά το ξέσπασμα του Παγκοσμίου Πολέμου, η αυστριακής καταγωγής Χέντι Λαμάρ βρέθηκε στη Αμερική. Ως παθιασμένη εχθρός του ναζισμού, θέλησε να συμβάλει στη προσπάθεια των συμμάχων να αντιμετωπίσουν τα σκοτεινά σχέδια του Χίτλερ. Το αντιναζιστικό της πάθος ζωήρεψε νωρίς, τα χρόνια που ζούσε στη Γερμανία. Εκεί γνώρισε από κοντά τον κύκλο των ναζί, μέσω του πρώτου συζύγού της Φριτς Μαντλ, ο οποίος υπήρξε γνωστός έμπορος όπλων και συνεργάτης του Χίτλερ και του Μουσολίνι. Ως πρώην κυρία Μαντλ είχε παρακολουθήσει από κοντά τις συζητήσεις και τις προθέσεις των Ναζί να δημιουργήσουν τηλεκατευθυνόμενες τορπίλες. Όταν εκείνη κατάφερε να το σκάσει και να βρεθεί στην Αμερική, σκέφτηκε να αξιοποιήσει όσα γνώριζε και να σαμποτάρει τα σχέδια των ναζί. Σε αυτές τις περιπτώσεις, δεν αρκούν οι προθέσεις. Η Λαμάρ, ως ανήσυχο και δημιουργικό πνεύμα, είχε τη δύναμη και την ευφυΐα να επινοήσει μαζί με τον συνθέτη Τζορτζ Άνθεϊλ (Antheil) μια «έξυπνη» συσκευή αναπήδησης συχνοτήτων, ένα σύστημα κρυφής επικοινωνίας, που θα μπορούσε να εναλλάσσει ένα σήμα μεταξύ 88 διαφορετικών συχνοτήτων, να αποκρύπτει από τα ραντάρ του εχθρού τις τηλεκατευθυνόμενες τορπίλες και να μειώνει, κατά πολύ, τις πιθανότητες παρεμβολών.
Η ιδέα της Χέντι Λαμάρ για την εναλλαγή των συχνοτήτων δεν αξιοποιήθηκε τότε. Αποτέλεσε, όμως, τη βάση για την ανάπτυξη της διασποράς φάσματος στη νέα τεχνολογία, η οποία αξιοποιείται, σήμερα, σε ένα ευρύτατο φάσμα συσκευών, από τα κινητά τηλέφωνα μέχρι τις ασύρματες ευρυζωνικές συνδέσεις.
Η κινηματογραφική καριέρα της Χέντι Λαμάρ υπήρξε ανάλογη της προσωπικότητάς της. Ήταν από τις πρώτες γυναίκες που εμφανίστηκαν γυμνές και υποκρίθηκαν οργασμό στη μεγάλη οθόνη στην ταινία του 1932 «Έκσταση», ενώ ανάμεσα στις μεγάλες κινηματογραφικές τις επιτυχίες συγκαταλέγεται και ο πρωταγωνιστικός της ρόλος στην θρυλική ταινία Σαμψών και Δαλιδά που γύρισε το 1949 ο Σεσίλ ντε Μιλ.
Συγγραφέας: Γιώργος Καρουζάκης – thalesandfriends.org
==============
To άρθρο που ακολουθεί δημοσιεύθηκε στην εφημερίδα ΤΟ ΒΗΜΑ στις 30/01/2000
ΣΙΝΕΜΑ ΚΑΙ… ΤΟΡΠΙΛΕΣ
Χέντι Λαμάρ
Μια εφευρέτις στη μεγάλη οθόνη Τελείωσε ήσυχα την περασμένη εβδομάδα στη Φλόριδα τις ημέρες που είχε να ζήσει ως ηθοποιός πιο γνωστή για την ομορφιά της παρά για την επινόησή της σχετικά με την τηλεκατεύθυνση των τορπιλών. Αφού γνώρισε καλά το Χόλιγουντ και τις ψευτιές του είχε φθάσει να πει και το κλασικό πλέον: «Κάθε κορίτσι μπορεί να γίνει διάσημο. Το μόνο που έχει να κάνει είναι να στέκεται ακίνητο και να παίρνει χαζό ύφος»
Εφυγε και αυτή. Η Χέντι Λαμάρ μάς άφησε χρόνους είπα, και οι γύρω μου σήκωσαν τους ώμους τους αδιάφορα. Εκείνη, μέσα από μια μεγάλη παλιά φωτογραφία της στη σελίδα των νεκρολογιών του «Guardian», φαινόταν να κοιτάζει πέρα από όλους μας.
Την Τετάρτη 19 Ιανουαρίου ήταν έτοιμο και το τελευταίο κομματάκι για να συμπληρωθεί το ψηφιδωτό της ζωής της Χέντβιγκ Εύας Μαρίας Κίζλερ που γεννήθηκε στις 9 Νοεμβρίου του 1913 στη Βιέννη από μητέρα πιανίστρια και πατέρα ευκατάστατο τραπεζίτη. Θαμπωμένη από τη λάμψη του κινηματογράφου εγκαταλείπει σχολείο, οικογένεια και πλούτη για να δουλέψει στη Γερμανία με τον σκηνοθέτη Μαξ Ράινχαρτ και το 1930, ήταν δεν ήταν 17 ετών, γύρισε την πρώτη ταινία της. Μετά από τρία χρόνια, στην πέμπτη ταινία της την «Εκσταση», εμφανίστηκε να μπαίνει ολόγυμνη σε μια λίμνη, να εκστασιάζεται και να προκαλεί τους έκπληκτους θεατές. Ο Χίτλερ απαγόρευσε την προβολή της στη Γερμανία, ο Πάπας Πίος 12ος την καταδίκασε, ο Φριτζ Μαντλ, ένας πάμπλουτος έμπορος όπλων, την ερωτεύτηκε, την παντρεύτηκε και πλήρωνε χρήματα για να αγοράσει και να εξαφανίσει τις κόπιες της «Εκστασης». Οι δοσοληψίες του με Μουσολίνι και Χίτλερ και το πολυτελές «κελί» που έκλεισε τη σύζυγό του, όσο και αν εκεί μέσα σύχναζε όλη η αυστριακή αριστοκρατία, μαζί με τον Γκούσταβ Μάλερ και τον Φραντζ Βέρφελ την ώθησαν προς τη φυγή. Μεταμφιέζεται σε υπηρέτρια, με μια χούφτα κοσμήματα και πολύ θάρρος το σκάει από το παράθυρο, φθάνει στο Παρίσι, παίρνει το πλοίο για τη Νέα Υόρκη, γνωρίζεται στο ταξίδι με τον Λουίς Μάγερ, τον ιδιοκτήτη της «Μέτρο Γκόλντουιν Μάγερ», και ξαναρχίζει καινούργια ζωή. Αλλάζει φυσικά όνομα καταλήγοντας σε ένα μείγμα από το δικό της και αυτό μιας παλαιάς δόξας του βωβού κινηματογράφου, της Μπάρμπαρα Λαμάρ. Ετσι γεννιέται η Χέντι Λαμάρ και κάνει αισθητή την παρουσία της στο Χόλιγουντ. Παίζει δίπλα στον Σαρλ Μπουαγέ, στον Κλαρκ Γκέιμπλ και στον Σπένσερ Τρέισι τη σκηνοθετεί ο Κινγκ Βίντορ. Ανάμεσα σε όλα βρίσκει καιρό να ξαναπαντρευτεί και να ξαναχωρίσει. Για να γνωριστεί με τον επόμενο.
Μια μοιραία συνάντηση
Εκείνος ήταν τότε ένας συνθέτης από το Παρίσι που οι ειδικοί τον τοποθετούσαν στην πρωτοπορία της μουσικής. Γνωστός αντιναζιστής διέθετε και μια εκπληκτική αίσθηση γύρω από το πώς λειτουργούν διάφορα περίεργα μηχανήματα. Είχε συνθέσει μάλιστα ένα έργο με τον τίτλο «Μηχανικό Μπαλέτο» όπου το πρόβλημά του ήταν να ξεκινούν ταυτόχρονα 16 από εκείνα τα αυτόματα πιάνα με το μεταλλικό τύμπανο που μπορούσαν να παίζουν μόνα τους τα κομμάτια ενός μουσικού έργου. Εκείνη δεν ήταν πια το φυλακισμένο κοριτσάκι στον χρυσό πύργο από τον πλούσιο ιδιοκτήτη του. Συναντήθηκαν, ο Ζορζ Αντάλ και η Χέντι Λαμάρ, σε κάποια από τις γεμάτες ψευτιά και πλήξη δεξιώσεις του Χόλιγουντ, αλλά είχαν πολλά ενδιαφέροντα να πουν, όπως αποδείχθηκε, αφού παντρεύτηκαν τελικά. Η ωραία ηθοποιός δεν υπήρξε απλά ένα διακοσμητικό πτηνό, στολίδι στο σαλόνι του πλούσιου εμπόρου όπλων Μαντλ. Θυμόταν καλά τα όσα είχαν συζητηθεί κατά καιρούς εκεί μέσα. Κάποια πράγματα μάλιστα μπορούσε να τα πάει και λίγο παρακάτω. Την απασχολούσε το σήμα που οδηγεί στην ολέθρια πορεία της μια τορπίλη. Οντας εβραϊκής καταγωγής ήθελε να κάνει κακό στον Χίτλερ και σκεπτόταν αν θα μπορούσε να αλλάζει ξαφνικά και απρόβλεπτα η εκπομπή ώστε ο εχθρός της καινούργιας θετής πατρίδας της να μην μπορεί να το παρακολουθήσει.
Την ίδια στιγμή που πομπός και δέκτης, σε απόλυτο συγχρονισμό, ξεπερνώντας τις παρεμβολές του εχθρού θα συνέχιζαν να επικοινωνούν στις εναλλασσόμενες συχνότητες και ως την τελική πυροδότηση θα κοβόταν το ηλεκτρονικό σήμα σε πολύ μικρά πακέτα και διασπείροντάς τα σε ένα μεγάλο φάσμα συχνοτήτων θα αυξανόταν η πιθανότητα να διαφύγουν από τα ενοχλητικά, αλλά περιορισμένα σε ορισμένες συχνότητες, σήματα παρενόχλησης. Αρκεί να υπήρχε ένας μηχανισμός να συγχρονίζει πομπό και δέκτη. Εμπνεύστηκαν κάποια λύση παρμένη από τα μηχανικά πιάνα και ζήτησαν το 1942 την κατοχύρωσή της. Ωστόσο ό,τι είχαν σκεφθεί έμεινε στα αζήτητα για πολλά χρόνια. Τρεις ολόκληρες δεκαετίες ως την κρίση στην Κούβα. Οπότε κάποιοι θυμήθηκαν την ιδέα για τα ξαφνικά και απρόβλεπτα άλματα στις συχνότητες, όταν πλέον οι κομπιούτερ είχαν γίνει χρήσιμο εξάρτημα στη στρατιωτική μηχανή των Ηνωμένων Πολιτειών κατά τις ψυχροπολεμικές αψιμαχίες τους με τους τότε Σοβιετικούς. Τώρα το πρόβλημα δεν ήταν οι χαμηλής ταχύτητας τορπίλες αλλά οι τηλεπικοινωνίες και η προστασία από τις ανεπιθύμητες υποκλοπές σημάτων. Χάρη λοιπόν στα άλματα της συχνότητας, το γνωστό ως frequency hopping, και στο κόψιμο του μηνύματος σε κομματάκια, μη γνωρίζοντας ο αντίπαλος σε τι συχνότητα θα είναι η εκπομπή για το επόμενο τμήμα, χάνει τελικά τον ειρμό. Η ιδέα της Χέντι Λαμάρ και του Ζορζ Αντάλ, αποτέλεσμα μιας συνάντησης που έγινε σε ένα συνηθισμένο χολιγουντιανό πάρτι, κρατήθηκε για χρόνια στα απόρρητα του αμερικανικού Πενταγώνου. Κάποια στιγμή πάντως παραδόθηκε και σε κοινή χρήση.
Οι πρόδρομοι των κινητών
Η ζωή όμως μερικές φορές αρνείται πεισματικά να δώσει πίσω σε είδος τα οφειλόμενα. Ως τον θάνατο και των δύο, δεν φαίνεται ότι το ζευγάρι κατάφερε να βγάλει έστω και μία δραχμή από την ιδέα του. Τι ειρωνεία! Και ας αναγνωρίστηκε πλήρως η συμβολή τους στη δεκαετία του ’90 από τα μεγάλα κεφάλια του EFF. Το μεγάλο αυτό σε γόητρο αμερικανικό Ιδρυμα Ηλεκτρονικού Μετώπου, όπου οι πιο γνωστοί, φιλελευθέρων αντιλήψεων, νεόπλουτοι θεμελιωτές του κυβερνοχώρου αρέσκονται να ανακατεύονται, είχε καταλάβει τι δρόμοι άνοιξαν. Τους τίμησαν σαν πρωτοπόρους και η κινητή τηλεφωνία θα τους χρωστάει αιώνια ευγνωμοσύνη, όποια εξέλιξη και αν πάρουν τα πράγματα. Γιατί είναι αλήθεια ότι με τη δυνατότητα να κόβεται κομματάκια και να αλλάζει συχνότητα το σήμα του κινητού ο πομπός το απλώνει σε εκατοντάδες συχνότητες, ενώ ο δέκτης κατέχοντας τους σωστούς κωδικούς ξανασυνθέτει το συνολικό σήμα. Είναι σαν να έχουμε τη δυνατότητα ένα ποτάμι να το μοιράσουμε σε αναρίθμητα μικρά αυλάκια. Και αφού ξεπεράσουμε τα όποια εμπόδια να τα ενώσουμε πάλι όπου χρειάζεται για να ποτιστούν σωστά διάφορα κομμάτια γης. Η ενέργεια μοιράζεται σε περισσότερα σήματα, οι παρενοχλήσεις μεταξύ τους περιορίζονται και οι υπολογισμοί ανεβάζουν σε 200.000 τα κινητά που θα μπορούσαν να συνυπάρξουν στην επιφάνεια ενός τετραγωνικού χιλιομέτρου όταν γίνει πλήρης εκμετάλλευση της παλαιάς αυτής ιδέας. Μόνο που μερικοί αφήνουν τη σκέψη τους να πάει και στο τι θα συμβεί αν υπάρχει τόσος χώρος για όλους στις συχνότητες. Δεν θα χρειάζονται φύλακες, θυρωροί και πολύ περισσότερο εισπράκτορες διοδίων, άρα πολλές σημερινές εταιρείες ίσως να κλείσουν. Οπως ακριβώς συμβαίνει σε μια απέραντη ακρογιαλιά που δεν μπορεί να μαντρωθεί με οποιονδήποτε τρόπο και όποιος προσπαθήσει να το κάνει θα γελοιοποιηθεί.
Ενας ακτιβιστής μάλιστα του κυβερνοχώρου, ο Ντέιβιντ Χιούζ, πειραματίζεται αυτή τη στιγμή με ειδικά ασύρματα μόντεμ. Ρίχνοντας τα σήματά τους σε ειδικά παραχωρημένη από τις αρχές περιοχή συχνοτήτων, μόνο για συσκευές με χαμηλή ισχύ, προσπαθεί να συνδέσει φθηνά και αποτελεσματικά μεταξύ τους σχολεία, όχι τα πιο πλούσια, από διάφορες περιοχές της Αμερικής. Αν το καταφέρει και οι μικροί μαθητές θα ευγνωμονούν τη Λαμάρ και τον Αντάλ.
Οι αλήθειες του τέλους
Στη δεκαετία του ’40 γύρισε πολλές ταινίες, χώρισε, ξαναπαντρεύτηκε, έφθασε στο απόγειο της δόξας της με την ταινία «Σαμψών και Δαλιδά» για να αρχίσει η καλλιτεχνική παρακμή της. Παντρεύτηκε άλλες τρεις φορές, απέκτησε δύο παιδιά, απέτυχε να επανέλθει στην οθόνη τη δεκαετία του ’60, πιάστηκε δύο φορές για μικροκλοπές σε καταστήματα, μπλέχτηκε σε αποτυχημένες δικαστικές αγωγές. Σε όλες τις φωτογραφίες της Χέντι Λαμάρ που έχω καταφέρει να συγκεντρώσω ξεχωρίζουν το ευγενικό και με μια υποψία θλίψης βλέμμα της, τα προσεκτικά φορεμένα αλλά καθόλου προκλητικά κοσμήματα, τα υπέροχα μάτια της. Ο,τι δεν φαίνεται είναι πως η γυναίκα αυτή μέσα στο πλήθος των επιτυχημένων ηλιθίων του Χόλιγουντ ξεχώρισε. Οχι μόνο για την εμφάνισή της αλλά και για την έλξη της από το πεδίο της τεχνολογίας, την αντίληψή της, τη διορατικότητά της. «Η μητέρα ήταν εξαιρετικά έξυπνη, στο μυαλό της κόχλαζαν οι καινούργιες ιδέες» είπε ο γιός της. Εστω και αν όλα άρχισαν με μια προσπάθεια να γίνουν οι τορπίλες πιο αποτελεσματικές.
Στη Φλόριδα, βγαίνοντας πού και πού από τη μοναξιά της, με αρκετή επίγνωση του τι μπορεί και τι δεν μπορεί να γλυτώσει από το πέρασμα του χρόνου συνήθιζε να λέει: «Χαίρομαι που η επινόησή μου δεν πήγε χαμένη». Για να συμπληρώσει αυτή που έκανε μια από τις πρώτες γυμνές εμφανίσεις στην ιστορία του κινηματογράφου: «Θα το πιστεύατε όμως ότι κάποτε υπήρξα μία διάσημη σταρ; Αλλά είναι αλήθεια…».
ΑΛΚΗΣ ΓΑΛΔΑΔΑΣ
Κατηγορίες:ΙΣΤΟΡΙΑ, ΣΙΝΕΜΑ, ΤΕΧΝΟΛΟΓΙΑ

Σχολιάστε